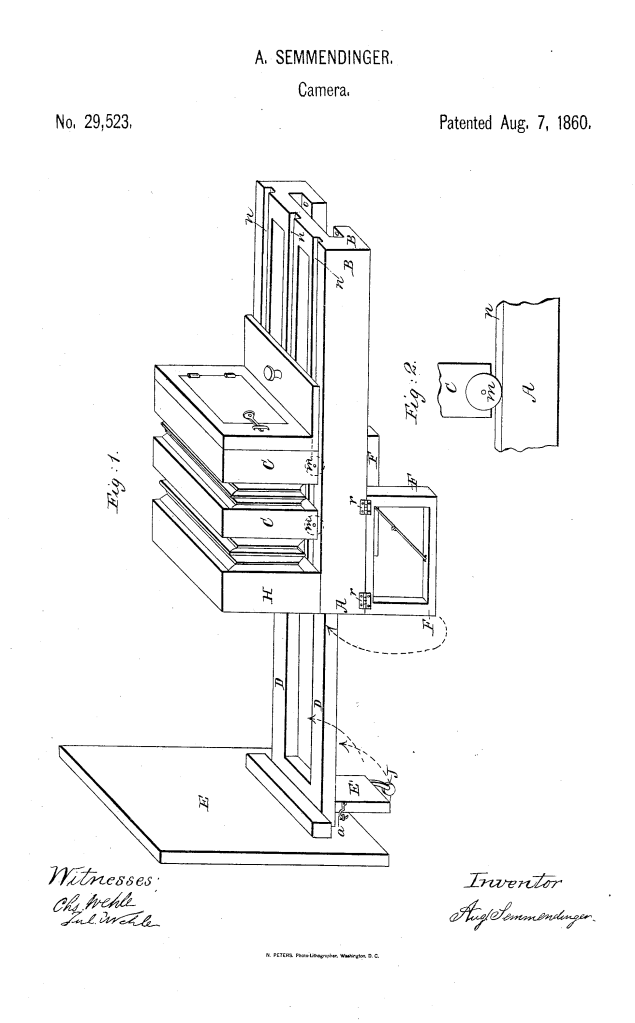
August Semmendinger had four inventions related to camera making patented by the United States Patent Office.
Scroll down to see all four of his patents.




August Semmendinger had four inventions related to camera making patented by the United States Patent Office.
Scroll down to see all four of his patents.



